Play Live Radio
Next Up:
0:00
0:00
Available On Air Stations
Watch Live

'Flying Doughnuts': Airbus Files Patent For A New Kind Of Plane

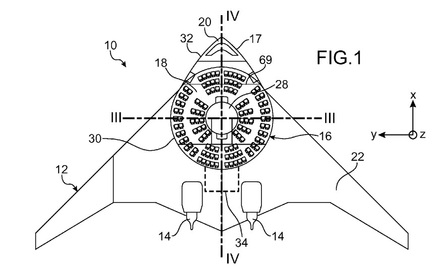
Airbus' patented design for amphitheater-like seating.
Espacenet
Airbus' patented design for amphitheater-like seating.

Airbus has filed a patent for a new plane that looks decidedly more Star Trek Enterprise than airplane.

The Financial Times dubbed it a "flying doughnuts."

According to the patent application, the craft would address a long-standing problem for plane designers โ€” pressurized cabins, which stress planes on the front and back ends and require heavy, reinforced frames.

Advertisement

The patent says the new design would distribute that pressure in a way that would be more "economic and efficient."

Airbus says the design also has an additional benefit: Seating passengers in a circle, doughnut-style, allows for more flyers than the old fashioned paper-towel-holder-with-two-wings.

"An approximately cylindrical geometry limits possibilities for increasing the passenger carrying capacity of the aircraft," the patent says.

Airbus spokesman Justin Dubon, though, told NPR that the design is not currently in production โ€” and may never be. Dubon says the company files more than 600 patents every year.

"Some of these become the seed for other ideas with practical use," he says.

Advertisement

Still, Dubon says, "There are some very clever people here that have fantastic ideas. And who knows? Maybe one day they will come light."

In the meantime, Airbus may want to start redesigning the drink carts to handle curves.

Copyright 2014 NPR. To see more, visit http://www.npr.org/.

Fact-based local news is essential

KPBS keeps you informed with local stories you need to know about โ€” with no paywall. Our news is free for everyone because people like you help fund it.

Without federal funding, community support is our lifeline.
Make a gift to protect the future of KPBS.